太灵通论坛

 找回密码
 注册

QQ登录

只需一步,快速开始

查看: 3861|回复: 1
打印 上一主题 下一主题

[聚焦民生] 网约车司机,困在“一口价”里

  [复制链接]

该用户从未签到

跳转到指定楼层
楼主
发表于 2023-8-23 09:27 | 只看该作者 |只看大图 回帖奖励 |正序浏览 |阅读模式 | 来自江苏
网约车行业的“一口价”模式,正在遭遇越来越大的监管压力。


近日,杭州市市场监督管理局、交通局等部门在近期召开的会议中要求:各网约出租车公司要对“一口价”等运价规则进行全面清理规范,并公开计价规则。


无独有偶,在杭州集中整治“一口价”之前,部分省会城市也有类似动作。比如说,合肥市交通运输局发文称,要求网约车聚合平台不得干预网约车平台的价格,如主导不同网约车平台公司开展统一标准的“一口价”活动。


虽说全国多地监管部门对网约车一口价的集中整治,对于推动行业朝着健康良性方向发展有着重要意义。但坦白来说,在当前网约车行业供需失衡的节点下,以及乘客端、司机端、平台端三方皆追求个人利益最大化的背景下,这种整治后续能否真正提高司机端收入仍充满诸多未知。




一口价的定义为:乘客设定目的地后,系统给出一个固定结算价格,不管堵车还是改路,所花费的价格都不变。也就是说,一口价下平台拥有自主定价权,并且因一口价本身属于竞争所设计的产品,本身也不违法。


事实上,网约车一口价早在几年前就被行业所使用,当时不少司机抱着“总比没有订单少”“少赚也是赚”的想法,对于一口价也愿意接受。现如今,网约车供需的严重失衡也是将一口价推至舆论风口浪尖的根源。


刘奇(化名)是来自安徽省合肥市的一名网约车司机,今年已是他从事网约车行业的第五年。刘奇向螺旋实验室透露,自己前几年主要在滴滴平台上接单,但今年则是全平台接单。调整的背后,还是今年网约车数量太多,竞争太大。以刘奇所在的当地网约车群为例,今年几乎每天都有少则几十人,多则两三百人加入。


如刘奇所言,据官方数据显示,截至今年6月30日,全国共有318家网约车平台公司,相比于网约车公司来说,网约车的驾驶员证更是增长迅速,据统计,今年网约车行业累计发放网约车驾驶员证579.0万本、车辆运输证243.4万本,而在去年6月份的时候,这个数据仅为453万,一年的时间全国新增了超百万的网约车司机。


但刘奇却指出,实际增加的网约车司机数量肯定比官方公布的数据还要高,而且这一数字仍有增长趋势。一方面,除已经通过平台审核,拿到相关资质的网约车司机外,还有不少“黑车”。虽然具体“黑车”数字难以统计,但这一数字肯定会比合规的网约车数量还要高。


另一方面,由于开网约车的进入门槛相对较低,以及时间的相对自由,这也让不少人准备开网约车进行临时过渡。比如说,由于上半年餐饮行业迎来一波“报复性开店潮”,但在价格战、行业竞争加剧,以及随着后续天气变化,部分餐饮品类无法满足季节需求的背景下,估计下半年餐饮行业将迎来一波闭店潮。闭店潮之后,这些餐饮企业老板、员工可能也会有不少人加入网约车大军中。


但与之形成强烈反差的则是,网约车平台订单数量的减少。结合交通部的数据来看,今年1-5月,网约车订单量环比分别增长14.1%、13.3%、9.7%、-1.4%和4.2%,行业增速整体呈下滑趋势,各大网约车平台的订单量均受到不同程度冲击。


其中,阳光出行5月份订单量同比减少15.2%。美团打车4月份订单量暴跌58%,5月份更是掉出前十行列。





“僧多粥少”面前,网约车司机的生存空间进一步被挤压。刘奇接着表示,以前自己可能一天只跑10个小时左右。但现在自己和同行一天跑12—14个小时都属于常态。但即便如此,即使在行情相对较好的时候,一天的流水也只有二三百元。


若扣掉每天的固定成本100多元,电费和车辆保险六七十元,以及车辆的损耗、折旧、吃饭等成本,有时候一天的纯收入有可能还不到100元。


更让刘奇发愁的事情在于,若是平台上出现利润稍微高一点的“好单”,基本上都是几十个司机在抢。为节省成本,即使在七八月份合肥每天三十多度的高温下,自己在等单过程中空调都不敢开。


如刘奇所言,当网约车司机的付出和收入不成正比时,平台所推行的一口价订单实际执行过程中,有可能会遭遇堵车、因交通事故进行道路的临时管控等不确定因素,进而导致订单时间被拉长的同时,司机的成本也在增加,这让司机服务一口价订单时,不但不赚钱反而还会赔本。


“世人慌慌张张,不过是图碎银几两,偏偏这碎银几两,能解世间万种慌张”,面对收入下降,网约车司机对一口价订单的怨声载道也就不难理解。


平台视角:借“一口价”抢夺订单


事实上,当前网约车平台之所以会在一口价中厮杀,本质上还是由于网约车历经多年发展,当前也迎来同质化服务阶段。对标其他行业来看,同质化市场下行业上的玩家往往会通过价格战的方式来吸引消费者,进而扩大自身市场份额。比如说,两轮电动车行业、新茶饮行业、咖啡行业等等。


但此前多地明确下发通知,禁止网约车平台低价竞争。因此通过一口价的方式提高平台订单量和收入,自然是一众网约车平台的打法。若是网约车平台通过提高运费或降低抽佣比例等方式,来增加一口价订单下网约车司机的收入,司机端和平台端的矛盾也能得以缓和。


但问题是,因国内网约车平台常年陷入亏损,为尽快找到盈亏平衡点,这些方式也不现实。


以行业头部玩家滴滴为例,据滴滴今年一季度财报显示,虽然今年一季度滴滴营收较上年同期增长19.1%至427.12亿元,净亏损则从去年同期的160.7亿元缩窄至9.17亿元。但结合滴滴创始人程维曾经的表述以及滴滴历年财报亏损数据来看,滴滴2012年创立至今,已累计亏损约1368亿元。


不仅仅是滴滴,虽然Uber公布的2023年Q2财报显示,公司单季度净利润为3.94亿美元。但据相关媒体报道,在过去的十年时间里,Uber累计亏损超2000亿元。持续的亏损,让Uber的股价一直自2021年2月达到64.05美元/股历史高位后,此后一路暴跌。


网约车平台常年陷入亏损的背后,本质上是由于行业缺乏飞轮增长效应。如果说传统电商平台的增长逻辑为:以货架电商为模型,以履约平台为形态,完成商家和消费者的连接。再以TOC端消费者的庞大的用户数量为基础,不断吸引产业链上中游商家的入驻,进而以商家规模的提高再次反哺C端用户,最终构建出强者恒强的电商模型。


但这一模型得以成立的基础在于,电商平台的模式具有较高的可复制性,以及消费者对部分品类的需求具有刚需性。这些特性的存在也决定了电商平台能够通过持续多轮的价格战,不断构建其用户的心智壁垒,并借助供应链效率的持续提高构建自身的护城河。





但反观网约车平台,一方面用户对网约车平台的需求并非刚需,尤其是伴随着近些年来各大城市公共交通的迅速发展,以及新能源汽车销量的快速提升。


其中,据乘联会预测,今年中国新能源乘用车销量将达到850万辆,狭义乘用车销量可达2350万辆,年度新能源乘用车渗透率有望达到36%。


当用户出行方式多元化,网约车平台的增长上限也受到钳制,为实现用户的回流,网约车或通过一口价订单或通过优惠券方式。但如此一来,也加剧了网约车平台的亏损程度。


另一方面,网约车平台的增长模式无法在不同城市之间得到复制。相较于高线城市以庞大的人口数量为基础,能够带动订单的持续增长,下沉市场消费者对网约车的需求实则很低,尤其是在国内的诸多县城中,两轮电动车更是当地用户日常出行普遍使用的交通工具,这也是为何当年两轮电动车头部厂商雅迪、爱玛选择农村包围城市路线打法的原因。


不同城市订单量的不同,也决定了网约车平台很难借助规模效应来实现盈利。而且相较于电商平台在订单履约过程中的相对“简单化”,网约车平台此前因订单履约过程中爆出的问题,在让网约车平台成为重监管行业的同时,平台也只能加大各种费用投入,进而提高平台订单的合规性以及安全性,但这种投入也在加剧网约车平台的亏损。


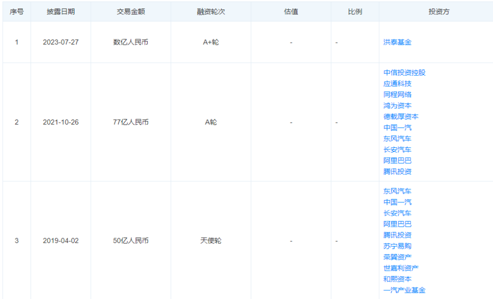
网约车行业的发展离不开资本多年的支持。比如说,今年7月份完成了由洪泰基金投资的超10亿元A+轮融资,2021年10月份完成了由中信联合体领投,金额高达77亿元的A轮融资。据悉本次是18年以来,国内网约车企业最大的一笔融资。





除此之外,此前哈啰出行也完成了融资签约,投资机构包括蚂蚁集团和阿里巴巴等知名互联网企业,涉及金额约19亿人民币;由控股股东广州汽车工业集团出资3.5亿元,旗下的如祺出行也开展规模约为10亿元融资。


但本质上来看,资本在2021年到2022年对这些网约车平台投资的背后,实则还是和当年滴滴APP被下架,留下的市场空白有关。但从后续的情况来看,网约车平台能否获得资本持续投资,仍充满诸多不确定性。


从资本自身的角度来看,进入到2023年以来,受美联储加息、欧美银行危机等一系列因素影响,目前资本市场普遍遭遇融资难、退出难、投资难、收益难的问题。


据Dealogic数据显示,今年一季度全球并购活动降至十多年来的最低水平。截至3月30日,全球并购交易额较去年同期下降58%。其中,高盛、花旗、摩根士丹利、美国银行、摩根大通分别下降26%、25%、24%、20%、19%。


资方自身遭遇困境之下,则会更看重企业的盈利能力、未来的成长空间,以及投资逻辑发生改变外,也正在要求此前投资的企业加速上市,以进行退出。比如说,近期蜜雪冰城、茶百道、沪上阿姨、霸王别姬等一众新茶饮品牌加速上市的背后,实则也和资本给到的退出压力有关。


同样的情况未来也将出现在网约车行业,毕竟资本业已陪跑网约车行业多年。但不管是网约车平台迟迟无法找到盈利方式,还是滴滴的市场份额从2022年的74%提升至今年一季度的76%,换句话说,其他网约车平台对滴滴市场份额挤压有限。


这种背景下,不管是后续面临的资本减持套现压力、上市压力、退出压力,网约车在保持可观增长数据的同时,也面临着更大的现金流压力。


因此从这一角度来看,即使后续一口价在全国多地被取缔,网约车仍会通过其他低价方式来扩大订单量。而司机在和网约车平台合作过程中,实则处在被动地位,这也决定了后续网约车司机想要提高收入也并非易事。


但即便如此,网约车平台也必须通过多种方式来提高司机收入。否则一旦网约车司机大量逃离,无源之水无本之木的网约车平台又要走向何方呢?

微信图片_20230823092415_1.png (304.63 KB, 下载次数: 1)

微信图片_20230823092415_1.png
分享到:  QQ好友和群QQ好友和群 QQ空间QQ空间 腾讯微博腾讯微博 腾讯朋友腾讯朋友
收藏收藏 分享分享 支持支持2 反对反对

该用户从未签到

沙发
发表于 2023-8-23 20:52 来自手机 | 只看该作者 | 来自江苏
收到来自: Android客户端
回复

使用道具 举报

您需要登录后才可以回帖 登录 | 注册

本版积分规则

公司信息
关于我们
诚聘英才
网站声明
xml地图
用户帮助
会员规则
商务合作
合作方式
商家入驻
联系我们
获取更新
新浪微博
腾讯微博
手机客户端二维码
太灵通微信二维码
泰州 | 房产 | 家装 | 美食 | 论坛 |
关于我们 | 合作方式 | 诚聘英才 | 网站声明 | 联系我们 | 访问统计
Copyright © 2009 - 2019 泰州未来网络科技有限公司. All Rights Reserved
增值电信业务经营许可证:苏B2-20190103 苏ICP备18045299号
太灵通常年法律顾问:江苏戴维律师事务所 陈东 律师 15240200003
网警 信息监察 不良举报